Introduction
Capacity requirements: 0,16 - 6,30 Kvs [m3/h]:
Technical data: MVS661
MVS661 is a modulating valve for the connection to the refrigerant level control sensor type HBLC. It can be used for all refrigerants and has a fast reaction time.
The modulating valve require only supply and connection from the HBLC. .
Capacity requirements: 6 - 354 Kvs [m3/h]:
Technical data: M2FP
Modulating pilot valve with magnetic actuator as the controlling element for 2…5“
pilot operated servo valves for modulating control of chillers, or for direct control of low kvs values.
Suitable for use with safety refrigerants such as R22‚ R134a‚ R404A‚ R407C‚ R507
and for ammonia R717. Unsuitable for applications with gas/liquid mixtures.
*We recommend Siemens valves for evaporators larger than 150 kw.
Technical details
- High precision and precise regulation
- Precise positioning
- Feed back signal to central panel about valve positioning
- Fast reaction time
- Proven and reliable design
Specifications
Drawing

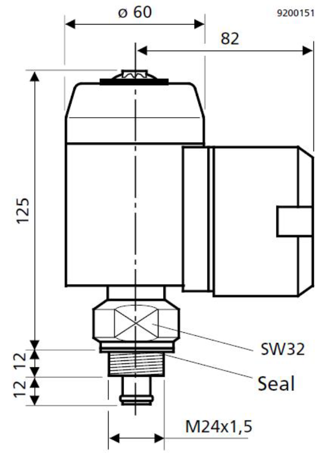
Mechanical drawings M2FP:

| Power supply | |
|---|---|
| Loop from HBLC contoller | 4-20 mA |
| Connection | 3 x ø20,5 mm |
| Terminals | Screw terminals max 4 mm2 |
| Output | |
| Positioning | 4-20 mA |
| Load | 500 ohm |
| Reactiontime | 1 s |
| Approvals | |
| EMC | EN61000-6-2/3 |
| Protection degree | Class III - EN 60730 |
| UL standard | UL 873 |
| CSA standard | C22.2 No. 24 |
| PN class | PN50 - EN 1333 |
| Mechanical specifications | |
| Max. pressure | 50 bar |
| Refrigerant temperature | -40...+120°C |
| Mounting | Horisontal or vertical |
| Weight | 5, 17 kg |
| Protection degree | IP65 - EN 60529 |
| Pipe connection | Ø33,7/22,4 |
| Materials | |
| Material - liquid parts | Steel / CrNi steel |
| Material - sealing | PTFE/CR |
Disclaimer
| Part no. | Kvs [m3/h] | QoE [kW] |
|---|---|---|
| Siemens MVS...0.16N | 0,16 | 95 |
| Siemens MVS...0.4N | 0,4 | 245 |
| Siemens MVS...1.0N | 1 | 610 |
| Siemens MVS...2.5N | 2,5 | 1530 |
| Siemens MVS...6.3N | 6,3 | 3850 |
| Siemens MVS...0.16N-IP | 0,16 | 95 |
| Siemens MVS...0.4N-IP | 0,4 | 245 |
| Siemens MVS...1.0N-IP | 1 | 610 |
| Siemens MVS...2.5N-IP | 2,5 | 1530 |
| Siemens MVS...6.3N-IP | 6,3 | 3850 |
| *IP is with integrated heater | ||
|
|
||
| Spare parts
|
||
![]() |
![]() |
|
| Siemens ASR61-IP Replacement electronics for MVS661 with heater | Valve insert ASR..N | |
|
|
||
| Additional info
|
||
| An exchangeable ASR..N valve insert allows for different | kvs-values with the same type of DN25 valve. In the event of service, | this insert can also be replaced on the plant |
|
|
||
| Mechnical spare part no.
|
Kvs [m3/h]
|
DN
|
| Siemens ASR0.16N | 0,16 | 25 |
| Siemens ASR0.4N | 0,4 | 25 |
| Siemens ASR1.0N | 1,0 | 25 |
| Siemens ASR2.5N | 2,5 | 25 |
| Siemens ASR6.3N | 6,3 | 25 |
|
|
||
| Electronic spare part no.
|
Description
|
Additional info
|
| Siemens ASR61 | Replacement electronic part for Siemens MVS661 | |
| Siemens ASR61-IP | Replacement electronic part for Siemens MVS661-IP | With integrated heating element |
|
|
||
| Part no. for M2FP
|
Kvs [m3/h]
|
DN
|
| Siemens-M2FP/ZM121A | 6 - 354 | 25 |
| *2- Port modulating pilot valve + terminal house for pilot valve | ||
|
|
||
| Spare parts for Siemens-M2FP/ZM121A
|
Description
|
Additional info
|
| Siemens M2FP03GX | 2-Port modulating pilot valve to control | Main valves. PN32, Thread M24x1,5mm |
| Siemens ZM121/A | Terminal housing for pilot valve | 24V AC supply, 4-20mA regulation |

